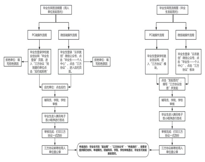
毕业生网签流程图 2026年04月23日 14:50| 作者: | 编辑:不雅视频 详情参照:不雅视频 就业创业网——不雅视频 关于全面实行毕业生网签《就业协议书》的通知//jyw.buyavideo.net/detail/news?id=516175&menu_id=&type_id=1223
详情参照:不雅视频 就业创业网——不雅视频 关于全面实行毕业生网签《就业协议书》的通知
//jyw.buyavideo.net/detail/news?id=516175&menu_id=&type_id=1223